Welcome to the official website of SHANGHAI YITAN VALVE CO., LTD
SHANGHAI YITAN VALVE CO., LTD
CONTACT US
Email: vickysong@yitan-valve.com
Mobile: +86-137 0166 2562
Contact: Vicky
SKYPE: songhuiyao730

Address:5 Floor, NO.277 Huqingping RD, Minhang district,  Shanghai, China

HOT PRODUCTS
CATEGORY
PRODUCTS
Globe valve BS5152 PN16

Globe valve BS5152 PN16

Design standard

BS5152/MSS SP-85

Face to face :

BS

Flange to

BS4504 PN16

Working Pressure:

PN16

Test and Inspection:

API598


0.00
0.00
  
Product Description

Design standard

BS5152/MSS SP-85

Face to face :

BS

Flange to

BS4504 PN16

Working Pressure:

PN16

Test and Inspection:

API598






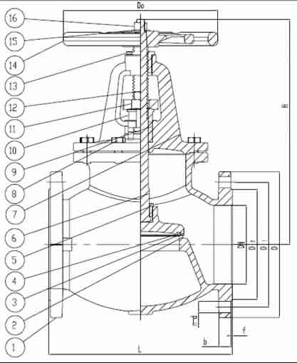
Stem

SS410

Disc face ring

Bronze

Disc

Cast iron

Seat ring

Bronze

Body

Cast iron

Parts

Material



Dimension:


SIZE

L

D

D2

D1

n-d

H1

2”

DN50

203

152

108

125

4-18

270

2.5”

DN65

216

178

122

145

4-18

290

3”

DN80

241

190

138

160

4-18

316

4”

DN100

292

229

158

180

8-18

341

5”

DN125

330

254

188

210

8-22

395

6”

DN150

356

282

212

240

8-22

434

8”

DN200

495

343

268

295

8-22

498

10”

DN250

622

406

320

355

12-26

776

12”

DN300

698

483

378

410

12-26

921