Welcome to the official website of SHANGHAI YITAN VALVE CO., LTD
SHANGHAI YITAN VALVE CO., LTD
CONTACT US
Email: vickysong@yitan-valve.com
Mobile: +86-137 0166 2562
Contact: Vicky
SKYPE: songhuiyao730

Address:5 Floor, NO.277 Huqingping RD, Minhang district,  Shanghai, China

HOT PRODUCTS
CATEGORY
PRODUCTS
Quick inlet-outlet Air release valve PN16

Quick inlet-outlet Air release valve PN16

The compound exhaust valve is important in the pipeline. During the operation of the pipeline system, bubbles or air may be generated inside the pipeline due to temperature changes, medium movement, and other reasons. The compound exhaust valve can automatically discharge this air, avoiding bubbles air resistance in the pipeline, which affects the normal operation of the pipeline system.


0.00
0.00
  
Product Description

The compound exhaust valve is important in the pipeline. During the operation of the pipeline system, bubbles or air may be generated inside the pipeline due to temperature changes, medium movement, and other reasons. The compound exhaust valve can automatically discharge this air, avoiding bubbles air resistance in the pipeline, which affects the normal operation of the pipeline system.



Specification:

Pressure Rating: PN10/16

Working Medium: Water

Working Temperature: 120

Flanged standard: EN1092-2 PN10/16, ANSI B16.10




Materials:

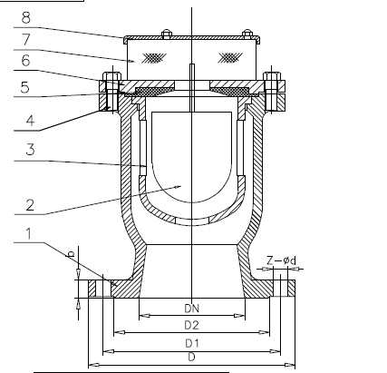
NO.

NAME

Material


1

Body

Ductile   iron


2

Float   Ball

SS304/SS316


3

Guild   Frame

SS304/SS316


4

bolt

Carbon   steel


5

Gasket

NBR


6

Cover

Ductile   iron


7

Screen

SS304/SS316


8

Anti-dust   cover

Ductile   iron












Dimension(mm):

SIZE

D

D1

b

Z-d

2”

DN50

160

125

18

4-18

3”

DN80

195

160

20

8-18

4”

DN100

215

180

20

8-18

6”

DN150

280

240

22

8-23

8”

DN200

335

295

24

12-23

10”

DN250

405

355

32

12-26

12”

DN300

460

410

32

12-26

16”

DN400

580

525

38

16-30