Welcome to the official website of SHANGHAI YITAN VALVE CO., LTD
SHANGHAI YITAN VALVE CO., LTD
CONTACT US
Email: vickysong@yitan-valve.com
Mobile: +86-137 0166 2562
Contact: Vicky
SKYPE: songhuiyao730

Address:5 Floor, NO.277 Huqingping RD, Minhang district,  Shanghai, China

HOT PRODUCTS
CATEGORY
PRODUCTS
DI body fixed orifice double regulating valve PN25

DI body fixed orifice double regulating valve PN25

Design standard

BS7350

Flanged conform to

 EN1092-1/2 PN25

Working pressure:

PN25

Working Tempt.

-10~120


0.00
0.00
  
Product Description

Design standard

BS7350

Flanged conform to

 EN1092-1/2 PN25

Working pressure:

PN25

Working Tempt.

-10~120







Hand wheel

Ductile iron


Test Plug

Brass


Orifice insert

Brass

6

Stem nut

Brass


Gland

Brass/Ductile iron

4

Disc

Ductile iron coated EPDM

3

Stem

SS410

2

Bonnet

Ductile iron

1

Body

Ductile iron

NO.

Parts

Material



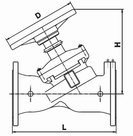
Dimension:


SIZE

L

H

D

N-d

Flow   Kv

2.5”

DN65

290

265

205

4-19

104

3”

DN80

310

270

205

8-19

112

4”

DN100

350

310

250

8-19

162

5”

DN125

400

340

300

8-19

254

6”

DN150

480

350

300

8-23

335

8”

DN200

600

537

375

12-23

535

10”

DN250

730

591

435

12-28

1099

12”

DN300

850

690

450

12-28

1588