Welcome to the official website of SHANGHAI YITAN VALVE CO., LTD
SHANGHAI YITAN VALVE CO., LTD
CONTACT US
Email: vickysong@yitan-valve.com
Mobile: +86-137 0166 2562
Contact: Vicky
SKYPE: songhuiyao730

Address:5 Floor, NO.277 Huqingping RD, Minhang district,  Shanghai, China

HOT PRODUCTS
CATEGORY
PRODUCTS
DI body ball valve full bore PN16

DI body ball valve full bore PN16

Design standard

DIN3357 PART 1

Face to face

DIN3352 F4/F5

Working pressure:

PN16

Flanged to

BSEN 1092-2 PN16

Test to

EN12266-1


0.00
0.00
  
Product Description

Design standard

DIN3357 PART 1

Face to face

DIN3352 F4/F5

Working pressure:

PN16

Flanged to

BSEN 1092-2 PN16

Test to

EN12266-1





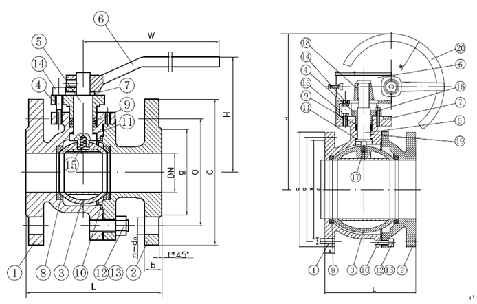
6

Lever

Ductile iron

5

Packing

PTFE

4

Shaft

SS304

3

Seat

PTFE

2

Ball

SS304

1

Body

Ductile iron

NO.

Parts

Material



Dimension:


SIZE

L

H

W

ISO5211

DIN3202

C

O

n-do

2”

DN50

150

126

250

F05

F4

165

125

4-18

2.5”

DN65

170

145

300

F07

F4

185

145

4-18

3”

DN80

180

155

300

F07

F4

200

160

8-18

4”

DN100

190

187

400

F10

F4

220

180

8-18

5”

DN125

325

215

500

F10

F5

250

210

8-18

6”

DN150

350

266

600

F12

F5

285

240

8-23

8”

DN200

400

617

600

F14

F5

340

295

12-23

10”

DN250

450

660

600

F16

F5

405

355

12-27

12”

DN300

500

781

600

F25

F5

460

410

12-27