Welcome to the official website of SHANGHAI YITAN VALVE CO., LTD
SHANGHAI YITAN VALVE CO., LTD
CONTACT US
Email: vickysong@yitan-valve.com
Mobile: +86-137 0166 2562
Contact: Vicky
SKYPE: songhuiyao730

Address:5 Floor, NO.277 Huqingping RD, Minhang district,  Shanghai, China

HOT PRODUCTS
CATEGORY
PRODUCTS
Lift check valve threaded end PN40/800WOG

Lift check valve threaded end PN40/800WOG



Design standard

ANSI B16.34

NPT threaded end to

ANSI B   1.20.1 /BS21/2779/DIN259/DIN2999

Working pressure:

PN40

Working Tempt.

-20~150

Test and Inspection:

API598


0.00
0.00
  
Product Description


Design standard

ANSI B16.34

NPT threaded end to

ANSI B   1.20.1 /BS21/2779/DIN259/DIN2999

Working pressure:

PN40

Working Tempt.

-20~150

Test and Inspection:

API598






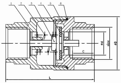
6

Gasket

PTFE

PTFE

5

Cap

A351 CF8

A351 CF8M

4

Gasket

Viton

Viton

3

Disc

A351 CF8

A351 CF8M

2

Spring

SS304

SS316

1

Body

A351 CF8

A351 CF8M

NO.

Parts

Material


Dimension:


SIZE

d

D

C

L

3/8”

DN10

13

30

12

54

1/2”

DN15

15

34.5

14

57

3/4”

DN20

20

41.5

15

64

1”

DN25

25

48.6

18

80

1-1/4”

DN32

32

60.5

17

82

1-1/2”

DN40

40

71

18

93

2”

DN50

50

87

17

100

2-1/2”

DN65

65

110

20

120

3”

DN80

76

125

24

140